Online od roku 2006 – Důvěryhodné zkušenosti
Přes 100.000 produktů – Široký sortiment
Doručení z vlastního skladu – Rychlé doručení
Férové ceny – Skvělý poměr cena/výkon

Efektní plastový rám Art blue 50x100 cm čiré sklo

  • SKU: 0050-5010-08 Effect
  • GTIN: 4011205329922

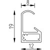
Efektní obrazový rám, úzký půlkruhový profil, výjimečně rozměrově stabilní díky dutému komorovému profilu, plastový rám s čirým sklem.
Barva 
Typ skla 
Formát rámečku obrázku 

78,69 €
vč. káď , Plus náklady na dopravu