Online od roku 2006 – Důvěryhodné zkušenosti
Přes 100.000 produktů – Široký sortiment
Doručení z vlastního skladu – Rychlé doručení
Férové ceny – Skvělý poměr cena/výkon

Efektní plastový rám Umělecká zelená 20x25 cm muzejní sklo

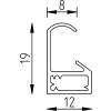
Efektní obrazový rám, úzký půlkruhový profil, výjimečně rozměrově stabilní díky dutému komorovému profilu, plastový rám s muzejním sklem.
Barva 
Typ skla 
Formát rámečku obrázku 

34,20 €
vč. káď , Plus náklady na dopravu