Online od roku 2006 – Důvěryhodné zkušenosti
Přes 100.000 produktů – Široký sortiment
Doručení z vlastního skladu – Rychlé doručení
Bezplatné doručení od 2500 Kč

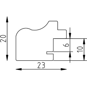
Effect Dřevěný rámeček Profil 67 hnědý s muzejním sklem

Dřevěný rámeček Profil 67, hnědý, 10,5x14,8 cm, muzejní sklo s UV ochranou 70 %, středně široký venkovský styl, výklopné upevnění, vhodný pro stěnu nebo hladkou plochu
Barva 
Typ skla 
Velikost 

Kč 951,48
vč. 21% káď , Plus náklady na dopravu